华为引望申请多个乾系列商标

2025-3-6 16:37| 发布者: 仟茂传媒| 查看: 1298| 评论: 0|来自: 和讯财经

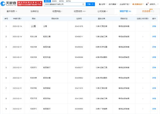
摘要: 新浪科技讯3月6日下午消息,天眼查财产线索信息显示,近日,深圳引望智能技术有限公司申请注册“乾智行”“乾智能”“乾云雁”“乾纵横”“乾先锋”“乾寻迹”商标,国际分类涉及运输工具、广告销售、网站服务等,当 ...

仟茂科技讯 3月6日下午消息,天眼查财产线索信息显示,近日,深圳引望智能技术有限公司申请注册“乾智行”“乾智能”“乾云雁”“乾纵横”“乾先锋”“乾寻迹”商标,国际分类涉及运输工具、广告销售、网站服务等,当前商标状态均为等待实质审查。

据悉,该公司成立于2024年1月,法定代表人为郑丽英,注册资本10亿人民币,经营范围包括智能车载设备制造、智能车载设备销售、汽车零部件研发、汽车零部件及配件制造、人工智能理论与算法软件开发等,由华为技术有限公司全资持股。

责任编辑:郝欣煜

(责任编辑:张晓波 )

【免责声明】本文仅代表作者本人观点,与和讯网无关。和讯网站对文中陈述、观点判断保持中立,不对所包含内容的准确性、可靠性或完整性提供任何明示或暗示的保证。请读者仅作参考,并请自行承担全部责任。邮箱:news_center@staff.hexun.com


鲜花

握手

雷人

路过

鸡蛋