哪吒汽车所持11亿元股权被冻结 冻结期限3年

2025-3-13 13:05| 发布者: 仟茂传媒| 查看: 1531| 评论: 0|来自: 和讯财经

摘要: 凤凰网科技讯3月13日,据爱企查显示,近日,哪吒汽车关联公司合众新能源汽车股份有限公司新增多条股权冻结信息,股权被执行的企业分别为广西宁达汽车科技有限公司、南宁雍合投资有限公司,冻结股权数额合计约11亿元 ...

凤凰网科技讯(作者/冯皓钦)3月13日,据爱企查显示,近日,哪吒汽车关联公司合众新能源汽车股份有限公司新增多条股权冻结信息,股权被执行的企业分别为广西宁达汽车科技有限公司、南宁雍合投资有限公司,冻结股权数额合计约11亿元人民币,冻结期限均为3年,执行法院为浙江省桐乡市人民法院、山东省临邑县人民法院。

图源:爱企查

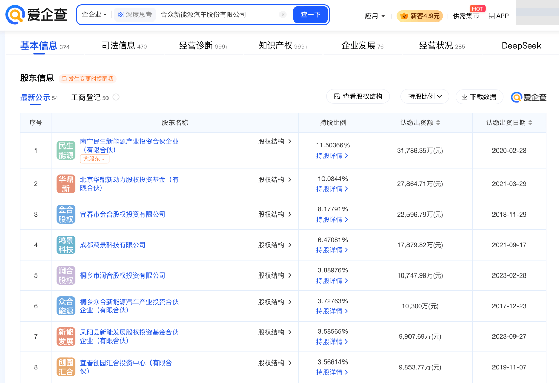
据了解,合众新能源汽车股份有限公司成立于2014年10月,法定代表人为方运舟,注册资本约28.37亿元人民币,由南宁民生新能源产业投资合伙企业(有限合伙)、北京华鼎新动力股权投资基金(有限合伙)、宜春市金合股权投资有限公司等共同持股。企业风险信息显示,该公司现存多条被执行人、限制消费令及股权冻结信息。

图源:爱企查

(责任编辑:刘畅 )

【免责声明】本文仅代表作者本人观点,与和讯网无关。和讯网站对文中陈述、观点判断保持中立,不对所包含内容的准确性、可靠性或完整性提供任何明示或暗示的保证。请读者仅作参考,并请自行承担全部责任。邮箱:news_center@staff.hexun.com


鲜花

握手

雷人

路过

鸡蛋