珍爱网回应闭店引热议 今年来多次因服务合同纠纷被起诉

2025-3-24 16:43| 发布者: 仟茂传媒| 查看: 1176| 评论: 0|来自: 和讯财经

摘要: 凤凰网科技讯3月24日,据悉,近日,珍爱网多地线下付费会员反映在不知情的情况下,签有服务合同的门店突然闭店,服务中断、红娘失联或离职,会员出现退费难的问题。爱企查App显示,珍爱网关联公司深圳市珍爱网信息技 ...

凤凰网科技讯(作者/冯皓钦)3月24日,据悉,近日,珍爱网多地线下付费会员反映在不知情的情况下,签有服务合同的门店突然闭店,服务中断、红娘失联或离职,会员出现退费难的问题。

据了解,今日,珍爱网发布《消费者权益保障工作声明》称:个别合作商运营问题引发公众关注,珍爱网对此高度重视并全面展开核查整改。任何门店关闭或合作商调整,均为公司正常业务优化,不影响珍爱网的整体运营和会员服务。

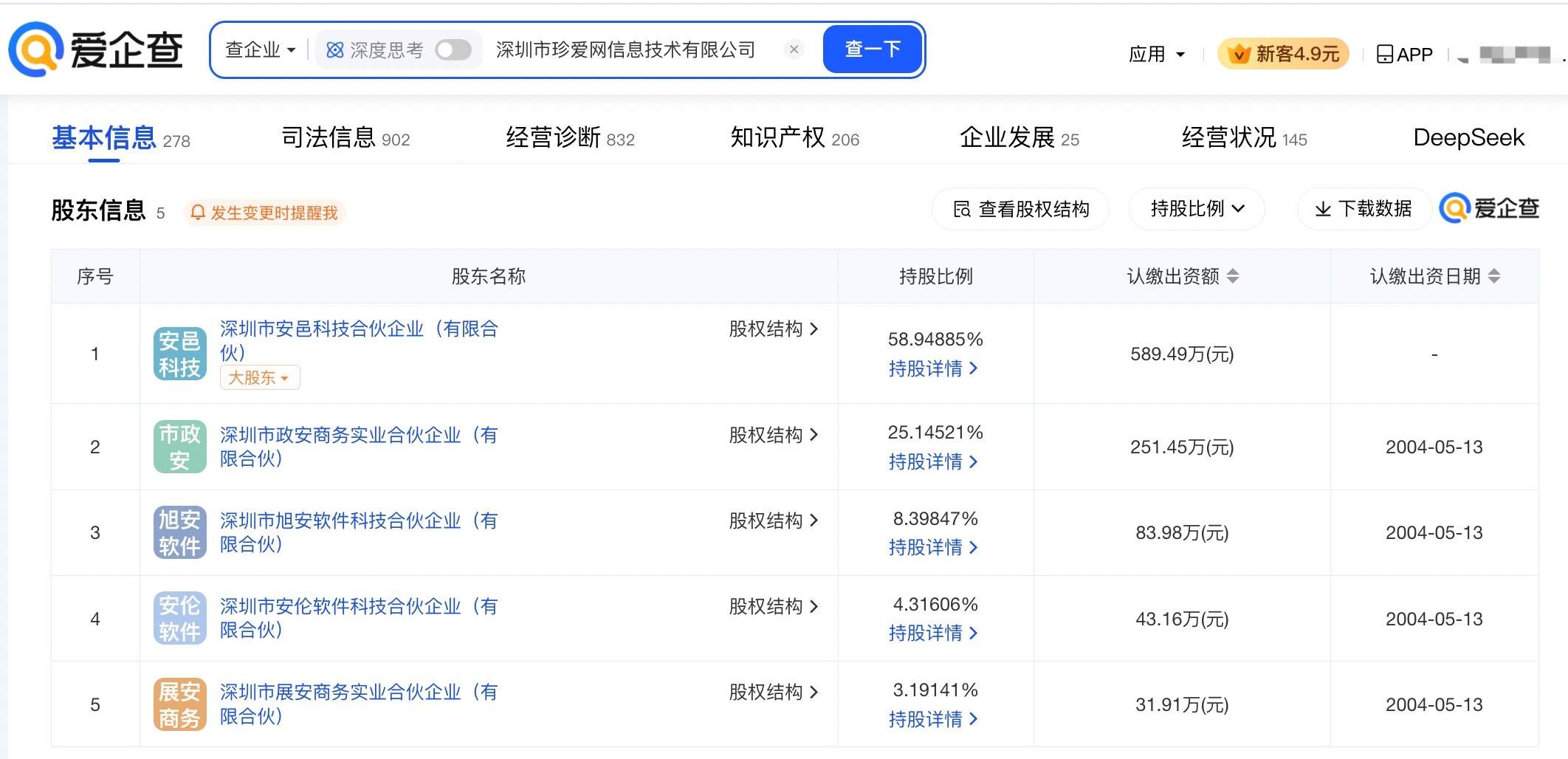
爱企查App显示,珍爱网关联公司深圳市珍爱网信息技术有限公司成立于2004年5月,法定代表人为赵灿,注册资本1000万元人民币,经营范围包括提供婚姻介绍服务、情感咨询、项目策划与公关服务、市场营销策划等,由深圳市安邑科技合伙企业(有限合伙)、深圳市政安商务实业合伙企业(有限合伙)、深圳市旭安软件科技合伙企业(有限合伙)等共同持股。

图源:爱企查

对外投资信息显示,该公司直接对外投资13家企业,分布在北京、深圳、海南等地,版图涉及网络科技、企业管理等领域,其中目前11家为开业状态。除此之外,通过直接或间接的方式,该公司拥有17家公司的实控权。分支机构显示,该公司已设立90家分支机构,其中目前52家为开业状态。

图源:爱企查

风险信息显示,该公司存在250余起法律纠纷,曾多次因“服务合同纠纷”“劳动争议”被起诉。其中,2025年以来,该公司新增近10条“服务合同纠纷”案件信息。

图源:爱企查

(责任编辑:刘畅 )

【免责声明】本文仅代表作者本人观点,与和讯网无关。和讯网站对文中陈述、观点判断保持中立,不对所包含内容的准确性、可靠性或完整性提供任何明示或暗示的保证。请读者仅作参考,并请自行承担全部责任。邮箱:news_center@staff.hexun.com


鲜花

握手

雷人

路过

鸡蛋